取消
加载中...
悲伤蛙被注册商标,申请公司为暴走漫画
2020-11-27 12:02:37

分享

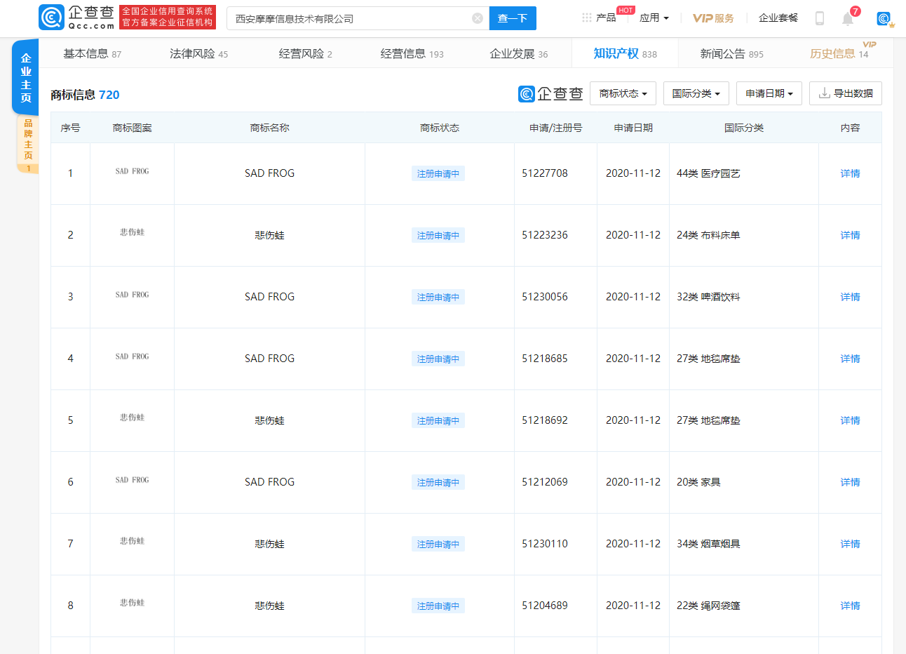
三言财经 11月27日消息,企查查APP显示,近日,西安摩摩信息技术有限公司新增多条商标信息,商标名称为“悲伤蛙”、“SAD FROG”,国际分类包含家具、食品、餐饮住宿等,目前部分商标状态为商标申请中。


image.png