取消
加载中...
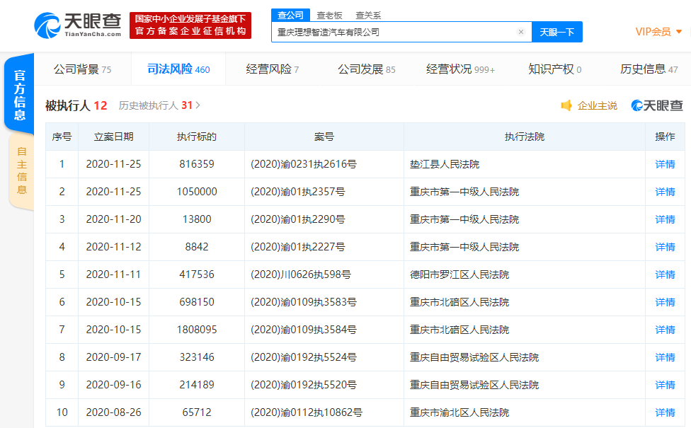
重庆理想智造汽车有限公司再被执行 目前累计执行标的超一千万
2020-11-27 13:49:03

分享

三言财经 11月27日消息,天眼查App显示,近日,重庆理想智造汽车有限公司再成被执行人,于11月25日新增两条被执行人信息,案号分别为:(2020)渝0231执2616号、(2020)渝01执2357号,执行标的分别为816359元、1050000元,合计约186.64万。目前累计执行标的已超一千万。

v2_3fee6f7d06a641cbaf21bfc0d54d50cf_img_png.png