取消
加载中...
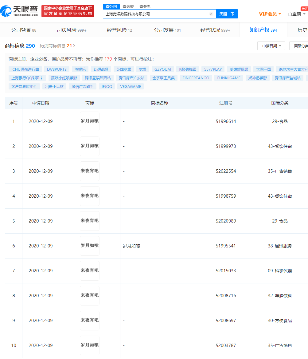
B站关联公司申请“来夜宵吧”、“岁月如嗦”商标
2020-12-15 13:47:03

分享

三言财经 12月15日消息,天眼查App显示,近日,B站关联公司上海宽娱数码科技有限公司申请多个“来夜宵吧”、“岁月如嗦”的商标。申请日期均在2020年12月9日,国际分类涉及食品、广告销售、餐饮住宿、啤酒饮料等。商标状态均显示为“商标申请中”。


v2_c4b14d4d4eff46fb89df4a1d160a489f_img_png.png