取消
加载中...
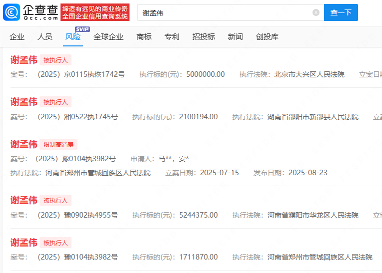
嘎子谢孟伟被执行超1400万,已被限制高消费
Feng 2025-10-13 17:46

近日,因穿警服直播带货被行政拘留、账号遭封禁的嘎子谢孟伟发视频称 “我回来了”,并向所有观众诚恳道歉。视频中,其透露公司员工已被安排回老家,后续将暂停直播带货。目前,嘎子谢孟伟快手账号仍处封禁中,已掉粉6.3万。


此外,查询企查查APP发现,近期,谢孟伟新增两条被执行人信息。其中,谢孟伟与妻子郭珊珊被湖南省邵阳市新邵县人民法院执行约210万元,与郭珊珊、林某某、祖某某被北京市大兴区人民法院恢复执行500万元。


微信图片_20251013174430_184_46.png


此前,谢孟伟与祖某某被河南省濮阳市华龙区人民法院执行约524万元;谢孟伟因民间借贷纠纷被河南省郑州市管城回族区人民法院执行约171万元,并被限制高消费。


Feng
文章总数
7537